Published:2009/6/19 2:31:00 Author:May | From:SeekIC



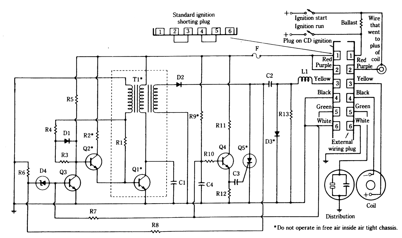
This ignition system charges a capacitor (C2) to 350 V and discharges it through the ignition coil.
Reprinted Url Of This Article:
http://www.seekic.com/circuit_diagram/Basic_Circuit/Analog_Circuit/CAPACITOR_DISCHARGE_IGNITION_SYSTEM.html
Print this Page | Comments | Reading(3)
Code: