Published:2009/6/28 21:13:00 Author:May | From:SeekIC

Reprinted Url Of This Article:
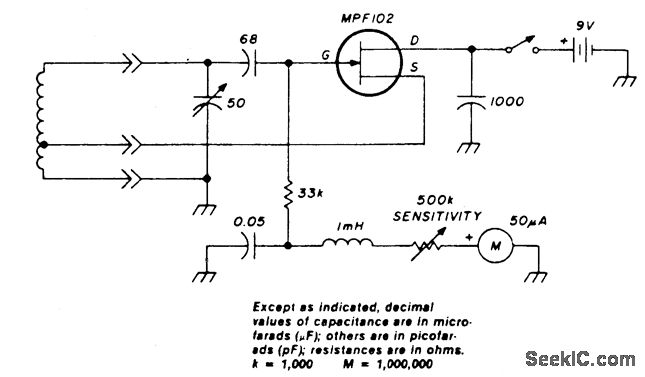
http://www.seekic.com/circuit_diagram/Basic_Circuit/Analog_Circuit/DIP_METER_USING_SILICON_JUNCTION_FET.html
Print this Page | Comments | Reading(3)
Code: