Published:2009/6/18 22:00:00 Author:May | From:SeekIC



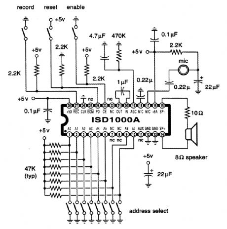
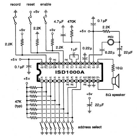
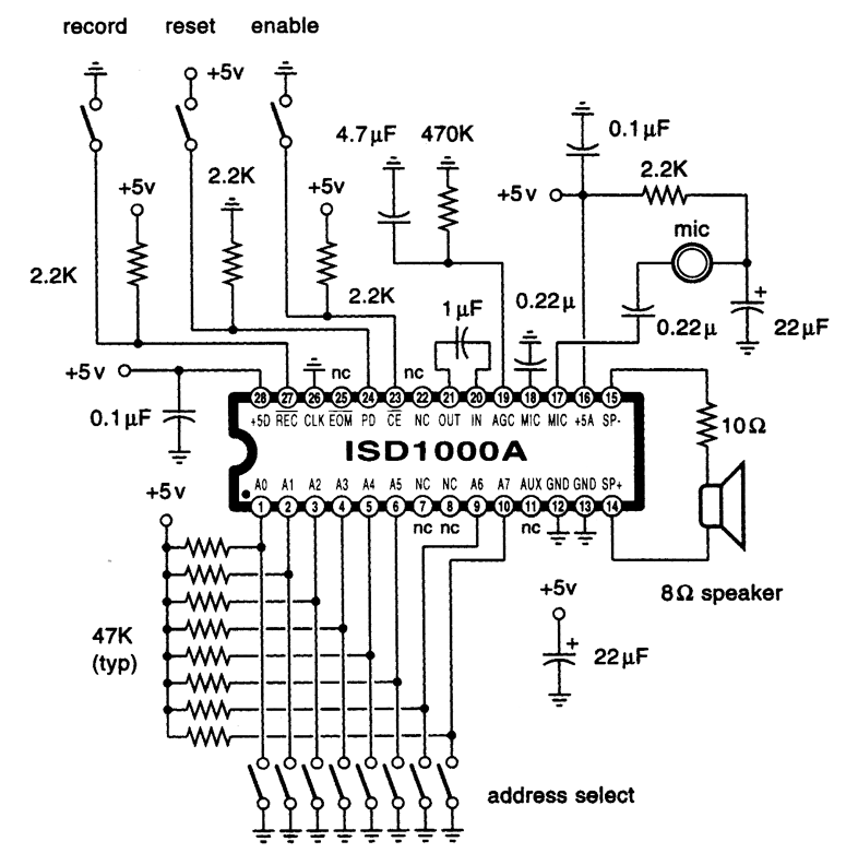
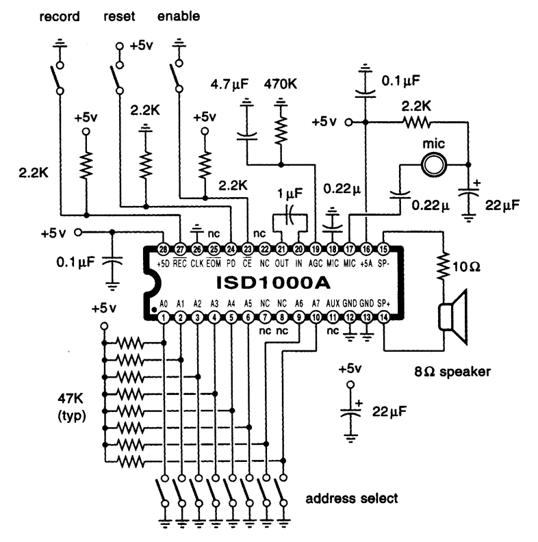
This circuit uses the Information Storage Devices ISD1000A chip(Radio Shack P/N 276-1325).
Reprinted Url Of This Article:
http://www.seekic.com/circuit_diagram/Basic_Circuit/Analog_Circuit/ISD_1000A_RECORD_PLAYBACK_CIRCUIT.html
Print this Page | Comments | Reading(3)
Code: