Published:2009/6/18 23:06:00 Author:May | From:SeekIC

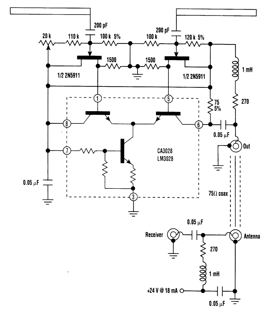
A short dipole antenna and impedance converter combined together can be rotated to null out an interfering signal. The converter supplies a tremendous current gain so that the voltage appear-ing at the dipole's output eventually drives a 75-Ω load.
Reprinted Url Of This Article:
http://www.seekic.com/circuit_diagram/Basic_Circuit/Analog_Circuit/MINIATURE_BROADBAND_ANTENNA_3_TO_30_MHz.html
Print this Page | Comments | Reading(3)
Code: