Published:2009/6/18 4:12:00 Author:May | From:SeekIC

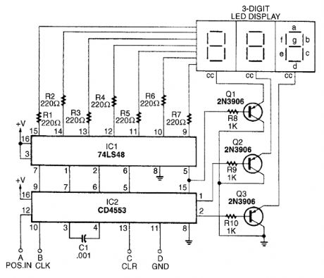
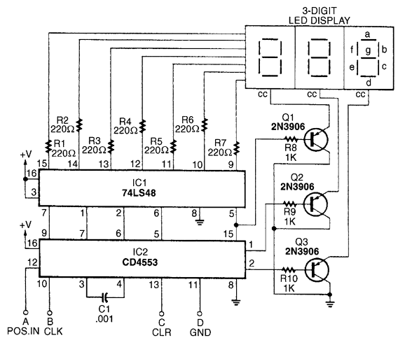
The BCD decoder-driver circuit will interface with any standard BCD output to produce a digital display.
Reprinted Url Of This Article:
http://www.seekic.com/circuit_diagram/Basic_Circuit/Analog_Circuit/MULTIPLEXED_BCD_DECODER_DRIVER_CIRCUIT.html
Print this Page | Comments | Reading(3)
Code: