Published:2009/6/23 2:18:00 Author:May | From:SeekIC

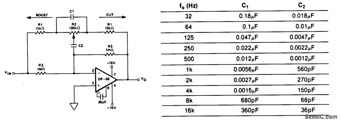
This circuit is one section of an octave equalizer used in audio systems. The table shows the val-ues of C1 and C2 that are needed to achieve the given center frequencies. This circuit is capable of 12 dB boost or cut, as determined by the position of R2. Because of the low input bias current of th,e OP-08, the resistors could be scaled up by a factor of 10, and thereby reduce the values of C1 and C2 at the low-frequency end. In addition, 10 sections will only draw a combined supply current of 6 mA maximum.
Reprinted Url Of This Article:
http://www.seekic.com/circuit_diagram/Basic_Circuit/Analog_Circuit/OCTAVE_EQUALIZER.html
Print this Page | Comments | Reading(3)
Code: