Published:2009/6/24 5:28:00 Author:May | From:SeekIC

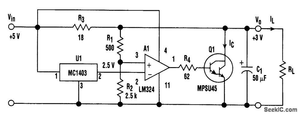
Generally speaking, conventional positive voltage regulators can only source current; they can't sink it. However, the positive regulator shown breaks that rule because it can perform both functions.The idea is to have the control transistor Q1 in shunt so that the regulator can either source or sink current.The circuit provides +3-V output from a +5-V supply. U1 is a bandgap reference that supplies a stable +2.5-V reference to the error amplifier (A1). The output voltage (VO) is sampled by the resis-tor network (R1 and R2). If VO were to increase, A1 will drive the base of Q1 harder, increasing the collector current (IC).This increases the drop across R3 and VO decreases, thus regulating the output voltage. The output voltage is givenby VO = 2.5(1 + R1/R2)Under no load conditions, Q1 draws 110 mA [(Vin-VO)/R3]. With a load connected, and as the regulator begins to source load current (IL), IC decreases to keep the drop across R3 constant.At IL 100 mA, Q1 carries 10 mA. If RL is connected to the positive supply higher than VO, then the regulator must sink current, and IL becomes negative. At IL = -100 mA, Q1 carries 210 mA while maintaining the output voltage at +3 V. The output voltage will remain constant at +3 V—even if the load current changes sign.With the proper heatsink on Q1, the regulator can sink more than 300 mA. If a sink only option is desired, the dissipation in Q1 can be reduced by using a 180-Ω resistor for R3. R4 limits the base current drive for Q1 and prevents the output of A1 from being clamped at 2 VBE.
Reprinted Url Of This Article:
http://www.seekic.com/circuit_diagram/Basic_Circuit/Analog_Circuit/POSITIVE_REGULATOR_SINKS_CURRENT.html
Print this Page | Comments | Reading(3)
Code: