Published:2009/6/24 2:46:00 Author:Jessie | From:SeekIC

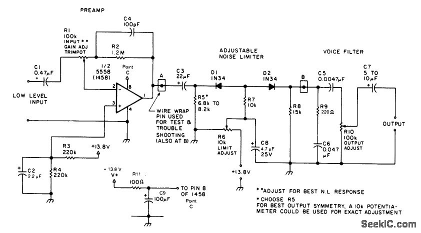
A preamplifier in the audio frequency range amplifies a noisy audio signal to drive a diode clip-per. Suitable audio input levels would be in the 10-mV to 1-V range.
Reprinted Url Of This Article:
http://www.seekic.com/circuit_diagram/Basic_Circuit/Analog_Circuit/RECEIVER_AF_NOISE_LIMITER_FOR_LOW_LEVEL_SIGNALS.html
Print this Page | Comments | Reading(3)
Code: