Published:2009/6/26 4:55:00 Author:May | From:SeekIC

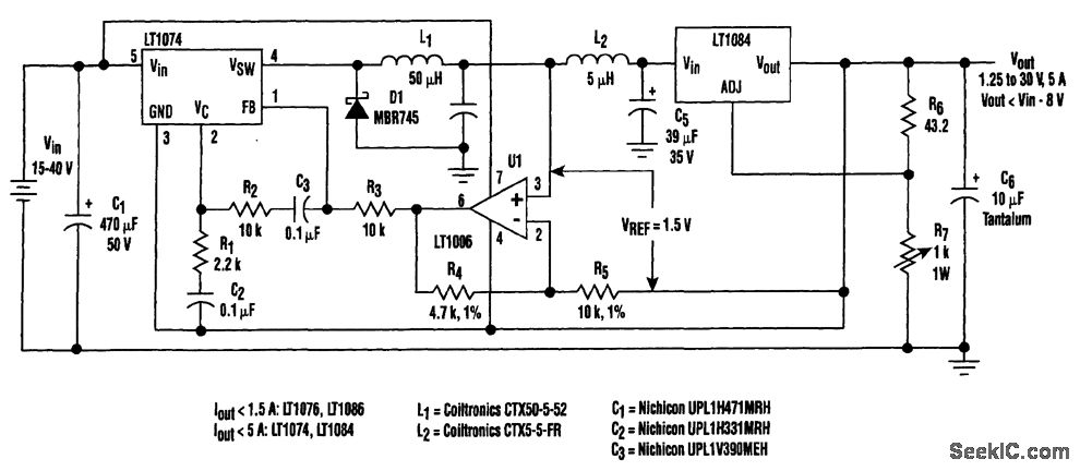
Large input-to-output voltage differentials, caused by wide input voltage variations, reduce a linear regulator's efficiency and increase its power dissipation. A switching preregulator can reduce this power dissipation by minimizing the voltage drop across an adjustable linear regulator to a constant 1.5-V value.
The circuit operates the LT1084 at slightly above its dropout voltage. To rninimize power dissipation, a low-dropout linear reg-ulator was chosen. The LT1084 functions as a conventional adjustable linear regulator with an output voltage that can be varied from 1.25 to 30 V.
Without the preregulator (for a 40-V input and a 5-V output at 5 A), it would be virtually impossible to find a heatsink large enough to dissipate enough energy to keep the linear-regulator junction temperature below its maximum value. With the prereg-ulator technique, however, the linear regulator will dissipate only 7.5 W under worst-case loading conditions for the entire input-voltage range of 15 to 40 V. Even under a short-circuit fault condition, the 1.5-V drop across the LT1084 is maintained.
Reprinted Url Of This Article:
http://www.seekic.com/circuit_diagram/Basic_Circuit/Analog_Circuit/REGULATOR_LOSS_CUTTER.html
Print this Page | Comments | Reading(3)
Code: