Published:2009/6/28 22:30:00 Author:May | From:SeekIC

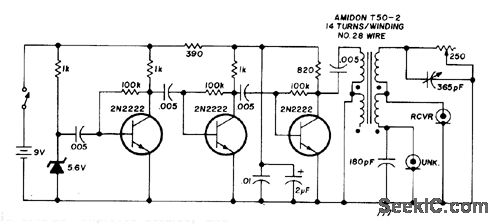
Improves accuracy and measurement range for impedance measurements from 3.5 to 30 MHz, particularly resistive and reactive components of high-frequency antennas. Accuracy is 3 ohms BMS. Wideband noise, generated in zener followed by threetransistor amplifier, is iniected into two legs of bridge in equal amounts by toroidal transformer having quadrifilar windings. With un known impedance connected and detectorlany communication receiver) set to desired frequency, reference impedances (250-ohm noninductive pot and 360-pF variable capacitor) are adjusted for deepest possible null. Value of unknown impedance is then equal to parallel combination of references. Article covers construction and calibration.-R. A. Hubbs and A. F.Doting, Improvements to the nx Noise Bridge, Ham Radio, Feb. 1977, p 10-20.
Reprinted Url Of This Article:
http://www.seekic.com/circuit_diagram/Basic_Circuit/Analog_Circuit/RF_NOISE_BRIDGE.html
Print this Page | Comments | Reading(3)
Code: