About SeekIC | Services | Payment | Advertisements service | Contact Us | Links
© 2008-2012 SeekIC.com Corp.All Rights Reserved.
Published:2009/6/24 3:03:00 Author:May | From:SeekIC

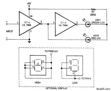
A logic probe also includes BCD decoder module. The red LED lights to indicate a logic high, and the green LED lights to indicate a logic low. This probe circuit will light a green (low) or red (high), and if desired, an alphanumeric display can be obtained with two 7-segment LED displays.
Reprinted Url Of This Article:
http://www.seekic.com/circuit_diagram/Basic_Circuit/Analog_Circuit/SIMPLE_LOGIC_PROBE_WITH_ALPHANUMERIC_DISPLAY.html
Print this Page | Comments | Reading(3)
Response in 12 hours
© 2008-2012 SeekIC.com Corp.All Rights Reserved.
Code: