Published:2009/6/24 22:06:00 Author:May | From:SeekIC


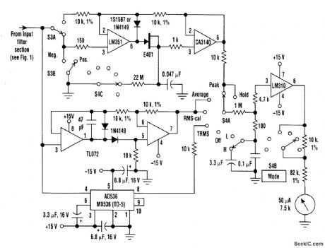
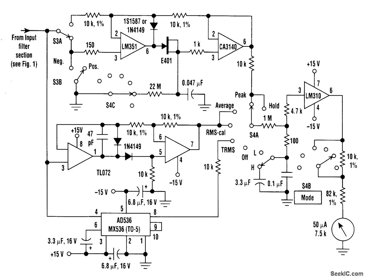
Though it's built with standard components, this ac voltmeter contains many features not typi-cally found in commercial meters; the most unusual is a selection of rectification modes. The meter responses available include true RMS ('fRMS), average, RMS-calibrated average responding, positive peak, negative peak, positive-peak hold, and negative-peak hold.High- and low-pass filters (S1 and S6, respectively) allow the -3-dB-passband to be varied from as little as 10 Hz to 200 Hz, to as wide as dc to 500 kHz. The low-pass filter also is effective in the 100x amplifier mode, where the input equivalent noise level is only 0.3 pV, with 10-kHz roll-off.
Reprinted Url Of This Article:
http://www.seekic.com/circuit_diagram/Basic_Circuit/Analog_Circuit/ac_VOLTEMTER_HAS_UNIQUE_FEATURES.html
Print this Page | Comments | Reading(3)
Code: