Published:2011/7/29 2:41:00 Author:Ecco | Keyword: Auto counter , producivity | From:SeekIC

The auto counter for productivity described in the example uses infrared control technology, the circuit is simple and easy to make, the effect of on-site use is better, it can be used for automatic counting of a variety of assembly line production.
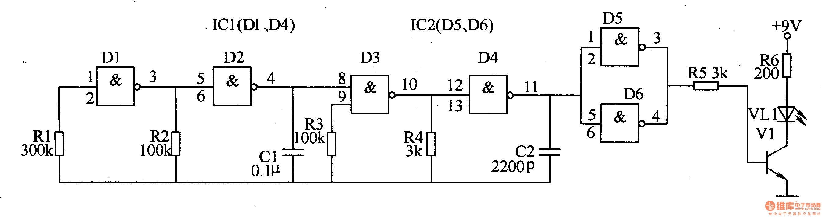
The working principle.
The auto counter for productivity circuit is composed of infrared transmitter and infrared receiver count circuit.
Infrared transmitter circuit is composed of a positive feedback modulation capacitor oscillator circuit, 4OkHz pulse oscillator and driver circuit, it is shown in Figure 8-80.
Positive feedback modulation capacitor oscillator circuit is composed of the NAND gate integrated circuit ICl (Dl-D4) internal Dl and D2 and resistors Rl and R2, capacitor Cl. 4OkHz pulse oscillator circuit is composed of the D3 and D4 inside of ICl and resistors R3 and R4, capacitor C2.
The drive circuit is composed of the IC and non-IC2 (D5, D6), resistors R5 and R6, transistor Vl and infrared light-emitting diode VLl.
Infrared receiver counting circuit is composed of the amplifier circuit, monostable trigger circuit A, B and counter, andit is shown in Figure 8-81.
The infrared receiver amplifier is composed of infrared receiver IC5, resistors R7 and R8 and the transistor V2.
A one-shot trigger circuit is composed of the time base IC lC3 and resistors R9 and Rll, capacitors C3-C5 and light-emitting diode VL2.
Reprinted Url Of This Article:
http://www.seekic.com/circuit_diagram/Basic_Circuit/Auto_counter_for_producivity_1.html
Print this Page | Comments | Reading(3)
Code: