Published:2011/5/16 21:46:00 Author:Nicole | Keyword: hand dryer | From:SeekIC

The circuit work theory
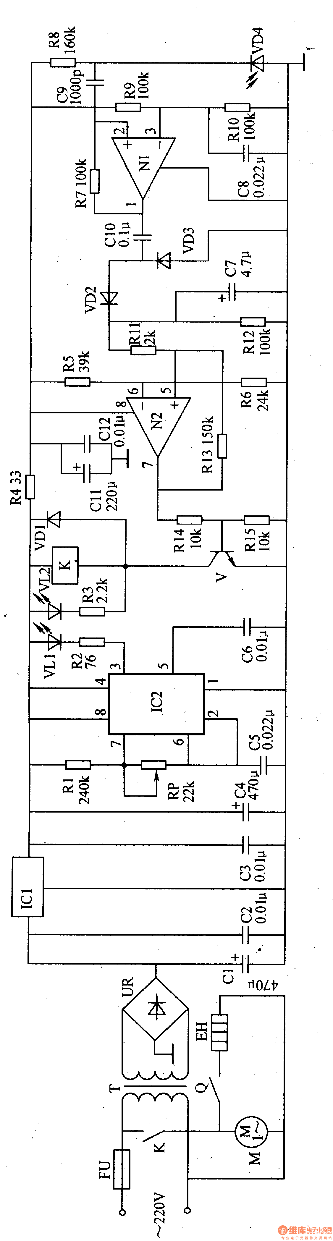
This automatic hand dryer circuit is composed of power supply, infrared transmitting circuit, infrared receiving amplifier circuit, detector circuit and control circuit, the circuit is shown in the figure 9-125.
The power supply is made of fuse FU, power transformer T, bridge rectifier UR, filter capacitor C1-C4 and three terminal regulator integrated circuit IC1.
The infrared transmitting circuit consists of time base integrated circuit IC2, resistors R1, R2, capacitors C5, C6, potentiometer RP and infrared LED VL1.
The infrared receiving amplifier circuit is composed of infrared photosensitive diode VD4, resistors R7-RlO, capacitors C8, C9 and operational amplifier integrated circuit IC3(Nl、N2)internal N1.
Reprinted Url Of This Article:
http://www.seekic.com/circuit_diagram/Basic_Circuit/Automatic_hand_dryer_2.html
Print this Page | Comments | Reading(3)
Code: