Published:2009/7/9 4:22:00 Author:May | From:SeekIC

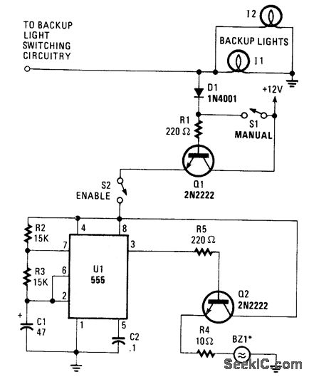
When the vehicle's backup lights kick on, or when the manual switch (S1) is closed, a small current is fed to the base of Q1. Transistor Q1 allows current to flow through it and, if the enable switch (S2) is closed, it sends 12 V to UI, a 555 timer. Timer UI sends high pulses that last 0.97713 s and low signals that last 0.488565 s to the base of Q2. When UI switches Q2 on, it sends 12 V to BZ1, a piezoelectric buzzer. For best results, the buzzer should be mounted under the vehicle-somewhere where people around the car can hear the warning beeps.
Reprinted Url Of This Article:
http://www.seekic.com/circuit_diagram/Basic_Circuit/BACKUP_BEEPER.html
Print this Page | Comments | Reading(3)
Code: