Published:2009/7/10 4:31:00 Author:May | From:SeekIC


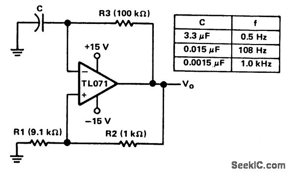
When this circuit is turned on, the natural offset of the devices serves as an automatic starting voltage.Assume that output voltage VO goes positive and the positive feedback through R2 and R1 forces the out-put to saturate. The high-voltage level at VO, then charges C through R3, until the voltage at the inverting input exceeds that at the noninverting input.As the inverting input exceeds the noninverting input level, the output switches to the negative saturation voltage. This action starts the capacitor discharging toward the new noninverting input level. When the capacitor reaches that level, the op amp switches back to the positive saturation voltage, and the process starts again. With the TL071, the positive and negative output levels are nearly equal, which results in a 50% duty cycle. The total time period of one cycle will be:
Reprinted Url Of This Article:
http://www.seekic.com/circuit_diagram/Basic_Circuit/BASIC_MULTIVIBRATOR.html
Print this Page | Comments | Reading(3)
Code: