Published:2009/7/14 2:05:00 Author:May | From:SeekIC

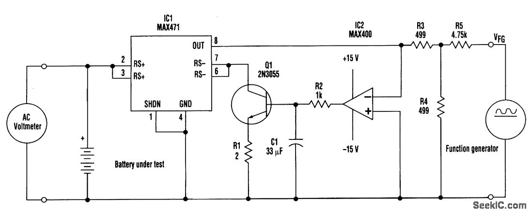
By applying an ac voltage superimposed on a ten times larger negative dc voltage (at VFG), the function generator determines the battery current drawn by Q1 (see the figure). The generator voltage causes the op-amp (IC2) output to go high and turn Q1 on, which allows battery current to flow through the high-side current-sensing amplifier (IC1). The output current of IC1, on pin 8, is equal to 1/2000 of this battery current. As a result, IC1, IC2, and Q1 form a loop in which the op amp forces a virtual ground at the IC1/IC2 end of R3. The op amp's extremely low-voltage offset (10 μV maximum) ensures accuracy. This virtual-ground condition enables the voltage divider (R5, and R3 in parallel with R4) and the function generator to determine the voltage across R3. The resulting current in R3 is iR3 = RP X VFG/【(RP+R5)R3】, where RP is the parallel combination of R3 and R4. Substituting resistor values and noting that battery current (iB) is 2000 times iR3,iB=-VFG/5.To operate the circuit, set the function generator's ac voltage to approximately 10 percent of its dc component. The equation then gives the resulting ac current in the battery (iB). Using an ac voltmeter, you can measure the ac voltage across the battery (vB) and calculate the average cell impedance as vB/NiB, where N is the number of cells. The circuit easily accommodates battery voltages of 3 V or more.
Reprinted Url Of This Article:
http://www.seekic.com/circuit_diagram/Basic_Circuit/BATTERY_IMPEDANCE_MEASURER.html
Print this Page | Comments | Reading(3)
Code: