Published:2009/7/9 20:58:00 Author:May | From:SeekIC

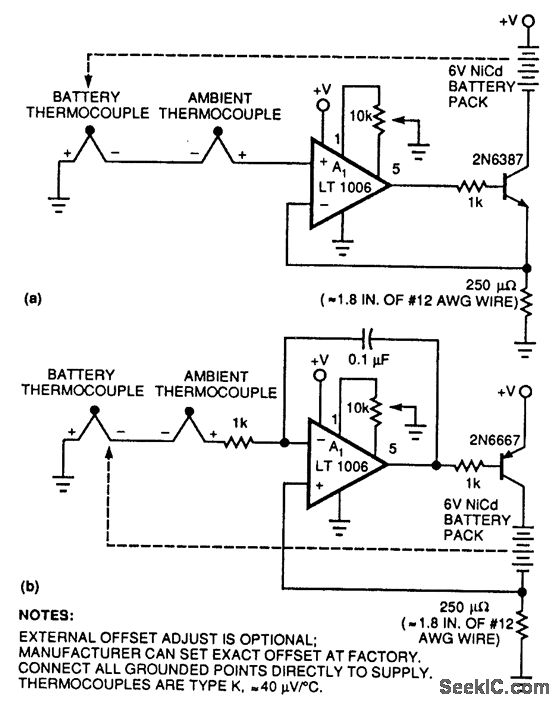
Two simple circuits permit Nicad charging of a battery based on temperature differences between the battery pack and the ambient temperature. This method has the advantage of allowing fast charging because the circuit senses the tempera-ture rise that occurs after charging is complete and the battery under charge is producing heat, not accumulating charge.
Reprinted Url Of This Article:
http://www.seekic.com/circuit_diagram/Basic_Circuit/BATTERY_TEMPERATURE_SENSING_NICAD_CHARGER.html
Print this Page | Comments | Reading(3)
Code: