Published:2009/7/9 1:19:00 Author:May | From:SeekIC

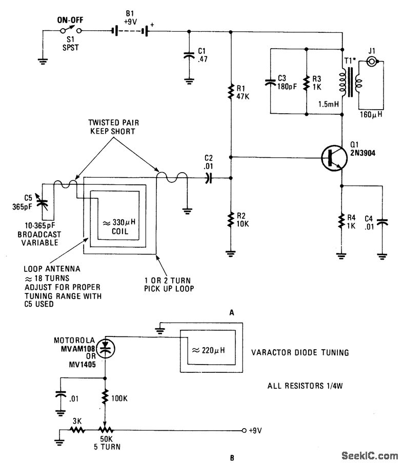
The use of a loop antenna oflarge size (12×18″)provides a large signal pickup at AM broadcast frequencles.It has about 18 turns. T1 is a toroidal transformer of about⒊1 turns ratio (not critical).Theprimary winding should have about 1.5 mH inductance. By using the circuit at (B),a varactor diode can beused In place of the 10- to 365-pF variable capacitor.
Reprinted Url Of This Article:
http://www.seekic.com/circuit_diagram/Basic_Circuit/BROADCAST_BAND_BOOSTER.html
Print this Page | Comments | Reading(3)
Code: