Published:2009/7/23 21:29:00 Author:Jessie | From:SeekIC

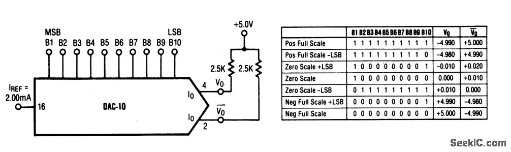
This circuit shows a DAC that is connected for bipolar-output D/A-converter operation.
Reprinted Url Of This Article:
http://www.seekic.com/circuit_diagram/Basic_Circuit/Basic_bipolar_output_DAC.html
Print this Page | Comments | Reading(3)
Code: