Published:2011/6/18 22:50:00 Author:Lucas | Keyword: Biological , taking poison device | From:SeekIC

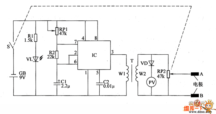
The biological taking poison device circuit is composed of the power supply circuit, multivibrator and output circuit, and the circuit is shown in Figure 37. Power supply circuit consists of the power switch S, battery GB, current limiting resistor R1 and the power indicator light-emitting diode VL. Multivibrator is composed of the capacitors C1, C2, resistor R2, potentiometer RP1 and time-base integrated circuit IC. Output circuit is composed of the pulse transformer T, potentiometer RP2, voltmeter N and electrodes A, B. R1 and R2 use the l/4W carbon film resistors or metal film resistors. RP1 uses the WH series of small synthetic membrane switch potentiometer without switch; RP2 uses the WH series of small synthetic carbon film potentiometer with switch.
Reprinted Url Of This Article:
http://www.seekic.com/circuit_diagram/Basic_Circuit/Biological_taking_poison_device_circuit_diagram_3.html
Print this Page | Comments | Reading(3)
Code: