Published:2009/7/10 3:44:00 Author:May | From:SeekIC

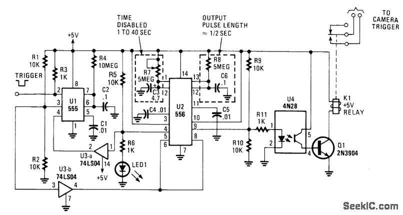
This circuit was used to trip a camera shutter. Grounding pin 2 of U1 makes pin 4 of U1 go high. This triggers both timers of dual timer U1. One output holds reset (pin 4) of U1 low to keep U1 from accepting another trigger, depending on the time constant of R7 and C3. This prevents camera film waste. The other timer is used to generate a 1/2-second pulse to drive U4 and Q1, the relay driver. K1 triggers the camera.
Reprinted Url Of This Article:
http://www.seekic.com/circuit_diagram/Basic_Circuit/CAMERA_TRIP_CIRCUIT.html
Print this Page | Comments | Reading(3)
Code: