Published:2009/7/10 22:24:00 Author:May | From:SeekIC

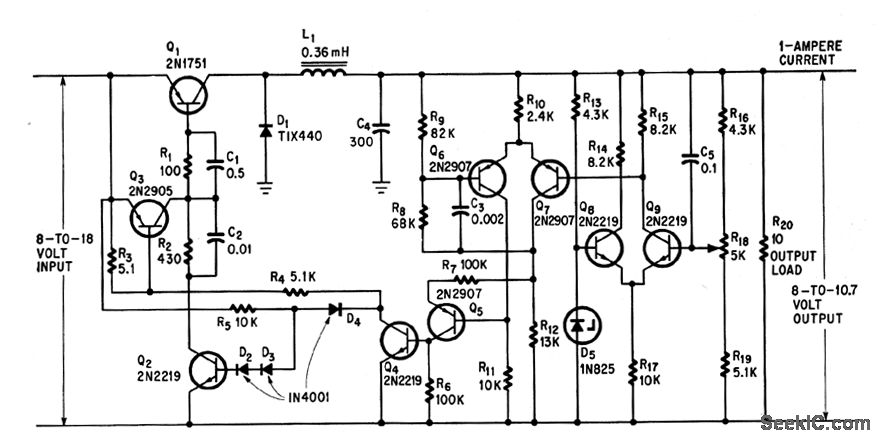
To oblain 10V at 1 amp from satellite solar cell supply with 97% effidency, differential amplifier in comparator stage produces error voltage to con trol Schmitt trigger, driver, and pctss switch.This achieves regulation by chopping current flow into filler for discrele intervals.-C. An-dren, High-Efficiency Voltage Regulator, Electronics, 37;23, p64-5.
Reprinted Url Of This Article:
http://www.seekic.com/circuit_diagram/Basic_Circuit/CHOPPER_TYPE_REGULATOR.html
Print this Page | Comments | Reading(3)
Code: