Published:2009/7/3 4:04:00 Author:May | From:SeekIC

Circuit Notes
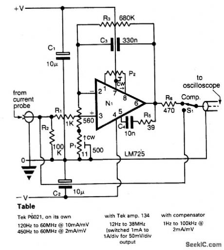
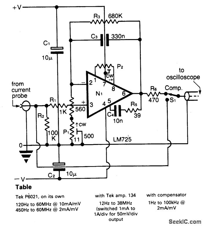
A clamp-on“current probe such as the Tektronix P6021 is a useful means of displaying current waveforms on an oscilloscope. Unfortunately, the low-frequency response is somewhat limited, as shown in the Table.The more sensitive range on the P6021 is 2 mA/mV, but it has a roll-off of 6 dB per octave below 450 Hz. The compensator counteracts the low-frequency attenuation, and this is achieved by means of C3 and R4 + P1 in the feedback around op amp N1.The latter is a low-noise type, such as the LM725 shown, and even so it is necessary at some point to limit the increasing gain with decreasing frequency; otherwise amplifier noise and drift will overcome the signal. The values shown for C3R3 give a lower limit below 1 Hz. A test square wave of ±10mA is fed to the current probe so that P1 can be adjusted for minimum droop or overshoot in the output waveform. At high frequencies, the response begins to fall off at 100 kHz.
Reprinted Url Of This Article:
http://www.seekic.com/circuit_diagram/Basic_Circuit/CLAMP_ON_CURRENT_PROBE_COMPENSATOR.html
Print this Page | Comments | Reading(3)
Code: