Published:2009/7/10 0:57:00 Author:May | From:SeekIC

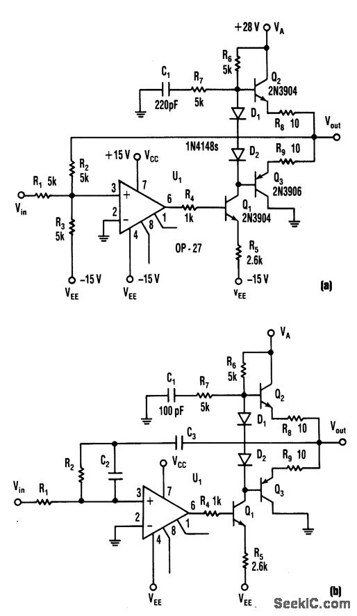
This circuit produces 5-to 25-V output to drive a VCO from a standard ±15-V supply system. R7 and C1 supply frequency compensation. Q1 through Q3 form an inverting amplifier with a gain of two.Negative feedback through R2 closes the loop. This circuit can act as a an active load-log filter and directly drive a voltage-controlled oscillator.
Reprinted Url Of This Article:
http://www.seekic.com/circuit_diagram/Basic_Circuit/COMPOUND_OP_AMP_VCO_DRIVER.html
Print this Page | Comments | Reading(3)
Code: