Published:2009/7/13 23:32:00 Author:May | From:SeekIC

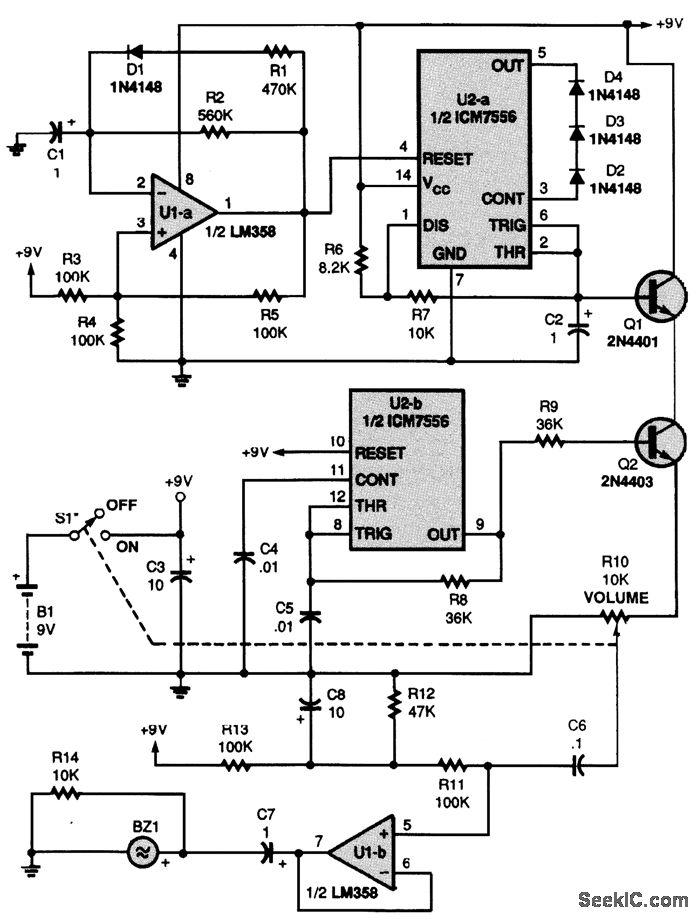
Power is supplied from a 9-V battery, B1; current drain is a little under 2 mA, so an alkaline battery should last more than 250 hours. Switch S1, the power switch, is a part of potentiometer R10, which also acts as a volume control. A duty cycle is generated by op amp U1-a, which is configured as a pulse generator. Diode D1 establishes a fast charging rate that generates a 0.22-second period, which matches the duration of a cricket's seven-beat chirp. The discharge rate is established by R2 to generate a reset time of 0.35 second. One half of an ICM7556 CMOS timer, U2-a, is used to simulate the amplitude modulation of a chirp. Timer U2-b is configured as a conventional pulse generator with a symmetrical duty cycle and an output frequency of 2 kHz. The output of U2-b is used to switch Q2 on and off, which produces a voltage across volume control R10 that has the magnitude of the instantaneous voltage across C2 with a 2-kHz sampling rate. A portion of that voltage is applied to U1-b, which is configured as a unity-gain, noninverting buffer that drives the piezo element.
Reprinted Url Of This Article:
http://www.seekic.com/circuit_diagram/Basic_Circuit/CRICKET_CHIRP_SIMULATOR.html
Print this Page | Comments | Reading(3)
Code: