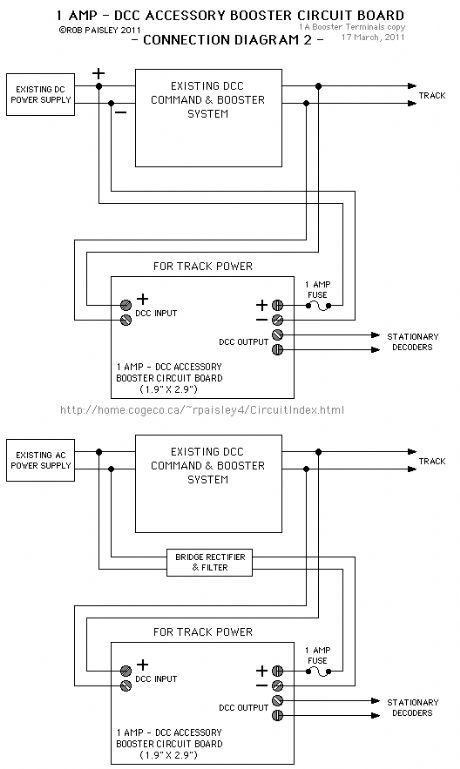
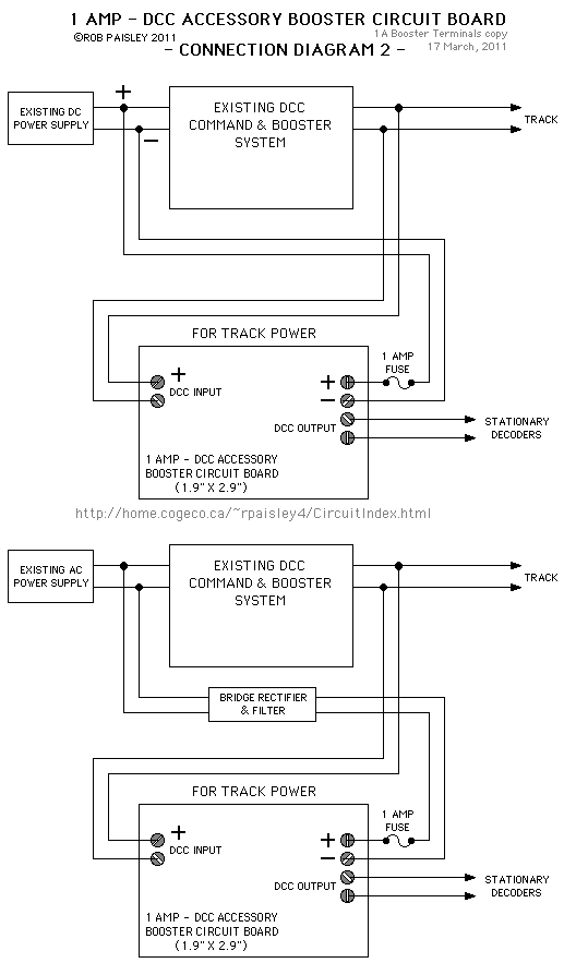
Published:2013/5/28 22:07:00 Author:muriel | Keyword: Circuitboard External Connections Diagram | From:SeekIC

Reprinted Url Of This Article:
http://www.seekic.com/circuit_diagram/Basic_Circuit/Circuitboard_External_Connections_Diagram_2.html
Print this Page | Comments | Reading(3)
Code: