Published:2009/7/25 5:38:00 Author:Jessie | From:SeekIC

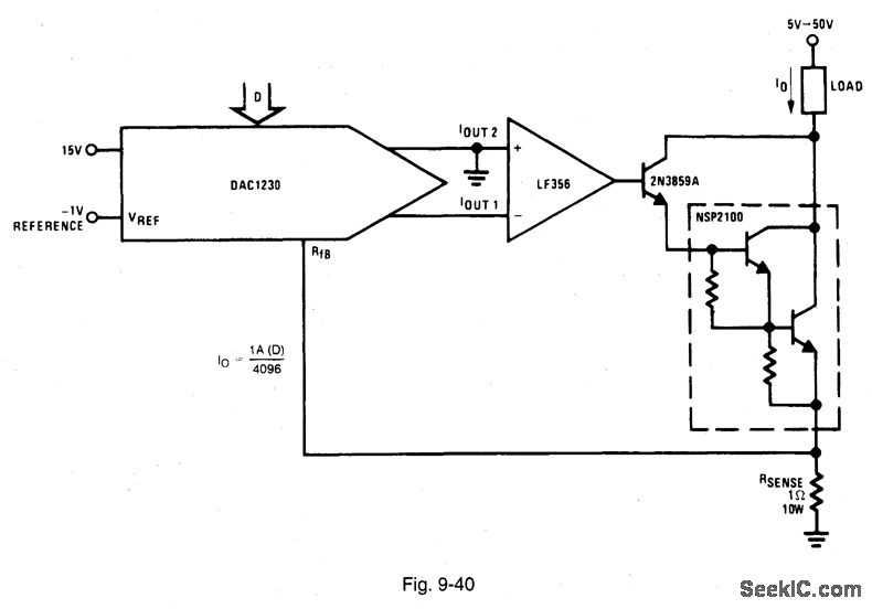
Figure 9-40 shows a DAC1230 connected to provide digital control of a 1-A current sink. Such a circgit can be used for heater control, stepper-motor torque compensation, and automatic test equipment. The largest source of nonlinearity in this circuit is the stability of the current-sensing resistance (with changes in power dissipation). The sensing resistance should be kept as low as possible to minimize this effect. The reference voltage must be reduced (to -1 V, as shown) to maintain the output-current range. The triple Darlington is used to minimize the base-current flowing through the sensing resistance, while simultaneously maintaining the collector current flow to the load. NATIONAL SEMICONDUCTOR, APPLICATION NOTE 271, 1994, P. 669.
Reprinted Url Of This Article:
http://www.seekic.com/circuit_diagram/Basic_Circuit/DAC_high_current_controller.html
Print this Page | Comments | Reading(3)
Code: