Published:2009/7/3 3:33:00 Author:May | From:SeekIC

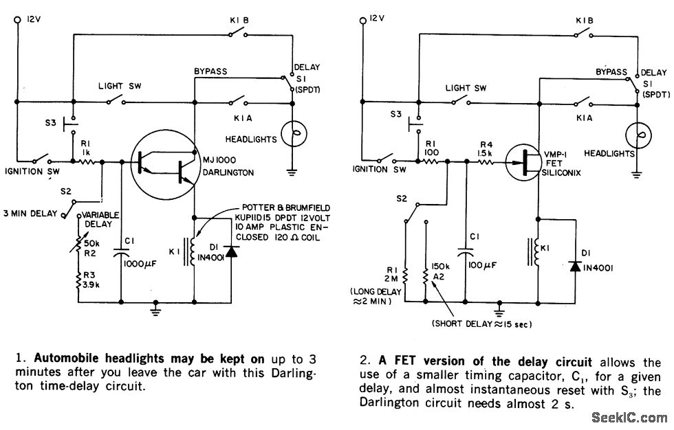
This circuit keeps an automobile's headlights on temporarily. It also will turn the lights off, even if you forget to flip the light switch. The circuit's shut-off delay is actuated only after both the ignition and light switches have been on, and only if the ignition switch is tumed off first. If the light switch is tumed off ftrst, no delay results. Parking and brake-light operation is not affected. The maximum time out can be up to 3 minutes in part 1 and hours with the circuit in part 2, depending on the relay selected and the value of R2. A switch S2 can be used to permit selection of either a short or long delay.Momentary switch S3 can restart circuit timing before the time-out is completed. A bypass switch, S1 removes the delay action.
Reprinted Url Of This Article:
http://www.seekic.com/circuit_diagram/Basic_Circuit/DELAY_CIRCUITS_FOR_HEADLIGHTS.html
Print this Page | Comments | Reading(3)
Code: