Published:2009/7/7 3:25:00 Author:May | From:SeekIC

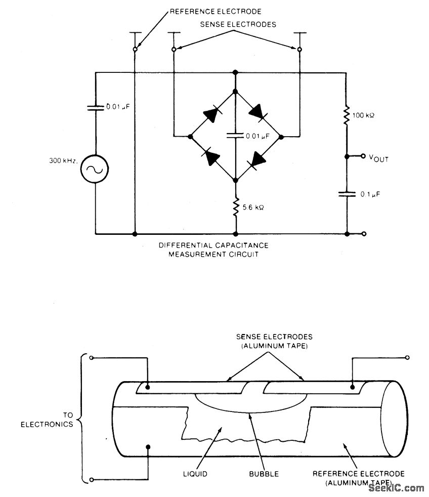
A bubble vial with external aluminum-foil electrodes is the sensing element for a simple indicating tiltmeter. To measure bubble displacement, a bridge circuit detects the difference in capacitance between the two sensing electrodes and the reference electrode. Using this circuit, a tiltmeter level vial with 2 mm deflection for 5 arc-seconds of tilt easily resolves 0.05 arc-second. The four diodes are CA3039, or equivalent.
Reprinted Url Of This Article:
http://www.seekic.com/circuit_diagram/Basic_Circuit/DIFFERENTIAL_CAPACITANCE_MEASUREMENT_CIRCUIT.html
Print this Page | Comments | Reading(3)
Code: