Published:2009/7/7 3:16:00 Author:May | From:SeekIC

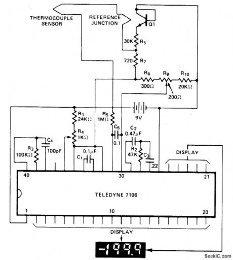
This digital thermocouple thermometer uses one active component and 15 passive components. With this circuit, both type J and type K thermocouples may be used. The type J will measure over the temperature range of 10 to 530℃ with a conformity of ±2℃. The type K will measure over a temperature range of 0℃ to 1000℃ with a conformity of ±3℃.
Reprinted Url Of This Article:
http://www.seekic.com/circuit_diagram/Basic_Circuit/DIGITAL_THERMOCOUPLE_THERMOMETER.html
Print this Page | Comments | Reading(3)
Code: