Published:2009/7/12 20:38:00 Author:May | From:SeekIC

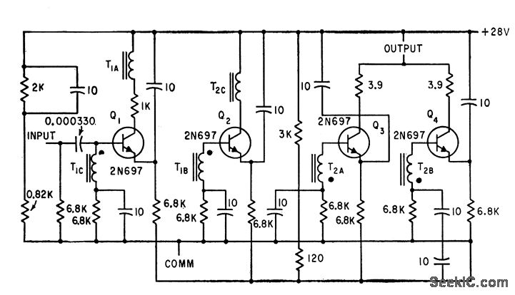
Has single pulse output when input blocking oscillator is triggered by single positive-going pulse, for driving film alternately from one remanence to another in astatic loop.-S. Feinstein and H. J. Weber, Electrical Readout from Thin Ferromagnetic Films, Electronics, 33:31, p100-102.
Reprinted Url Of This Article:
http://www.seekic.com/circuit_diagram/Basic_Circuit/DRIVE_FOR_THIN_FILM_MEMORY.html
Print this Page | Comments | Reading(3)
Code: