Published:2009/6/23 2:10:00 Author:Jessie | From:SeekIC

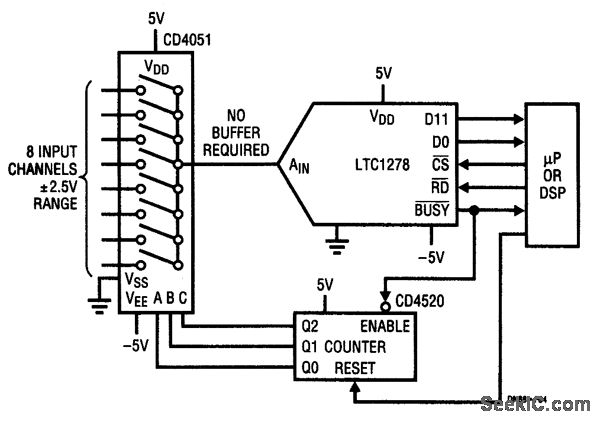
The high input impedance of the LTC1278 allows multiplexing without abuffer amplifier. Both sin-gle channel and multiplexed high-speed data acquisition systems benefit from the LTC1278/LTC1279's dynamic conversion performance. The 1.6-μs and 1.4-μs conversion and 200-ns and 180-ns S/H acquisition times enable the LTC1278/LTC1279 to convert a 500 ksps and 600 ksps, respectively. The figure shows a 500-ksps 8-channel data acquisition system. The LTC1278's high input impedance eliminates the need for a buffer amplifier between the multiplexer's output and the Adc's input.
Reprinted Url Of This Article:
http://www.seekic.com/circuit_diagram/Basic_Circuit/Digital_Circuit/500_ksps_8_CHANNEL_DATA_DCQUISITION_CIRCUT.html
Print this Page | Comments | Reading(3)
Code: