Published:2009/6/26 2:27:00 Author:May | From:SeekIC

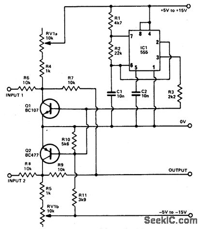
The basis of the beam splitter is a 555 timer connected as an astable multivibrator.Signals at the two inputs are alternately displayed on the oscilloscope with a clear separation between them. The output is controlled by the tandem potentiometer RV1a/b which also varies the amplitude of the traces.
Reprinted Url Of This Article:
http://www.seekic.com/circuit_diagram/Basic_Circuit/Digital_Circuit/BEAM_SPLITTER_FOR_OSCILLOSCOPE.html
Print this Page | Comments | Reading(3)
Code: