Published:2009/6/24 3:15:00 Author:Jessie | From:SeekIC

Reprinted Url Of This Article:
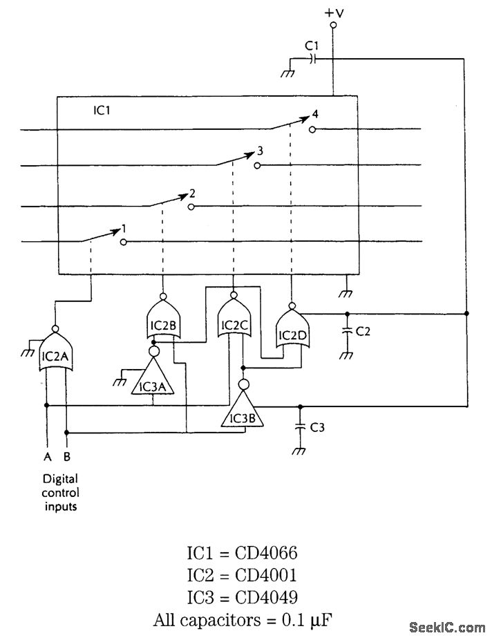
http://www.seekic.com/circuit_diagram/Basic_Circuit/Digital_Circuit/DIGITALLY_CONTROLLED_ONE_OF_FOUR_ANALOG_SWITCH.html
Print this Page | Comments | Reading(3)
Code: