Published:2009/7/2 3:51:00 Author:May | From:SeekIC

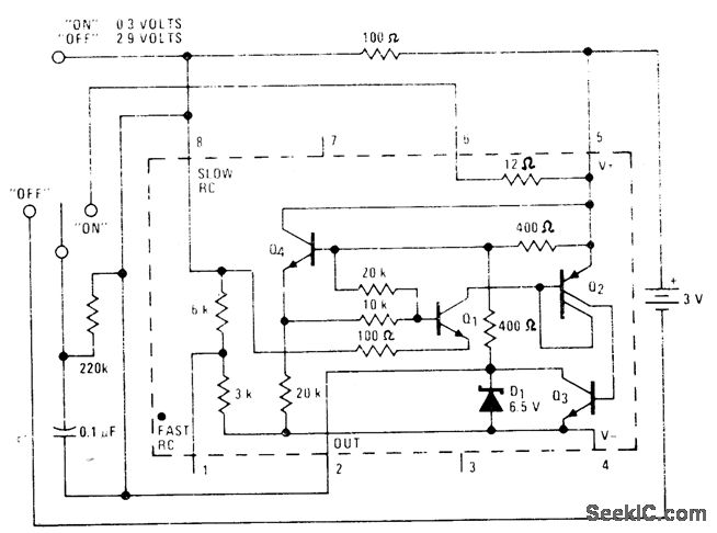
National LM3909 IC operating from 3-V battery requires only momentary contact by switch to change logic level of output and hold that level.- Linear Applications.Vol, 2, National Semiconductor, Santa Clara,CA,1976,AN-154,p9
Reprinted Url Of This Article:
http://www.seekic.com/circuit_diagram/Basic_Circuit/Digital_Circuit/LATCH.html
Print this Page | Comments | Reading(3)
Code: