Published:2009/6/25 4:13:00 Author:May | From:SeekIC

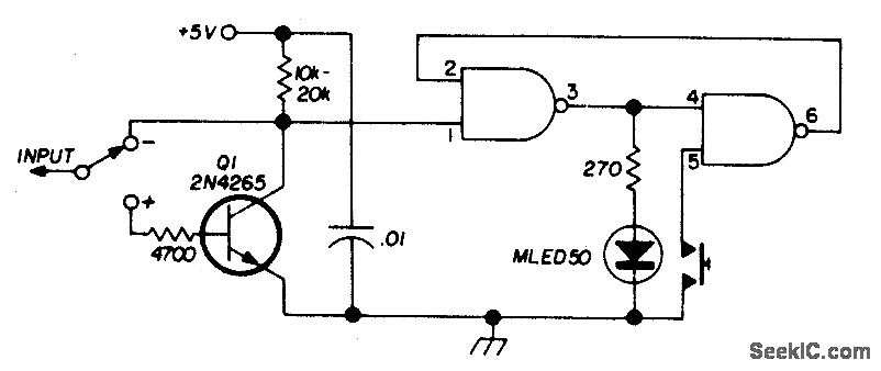
There are two switches: a memory disable switch and a pulse polarity switch. Memory disable is a push-button that resets the memory to the low state when depressed. Pulse polarity is a toggle switch that selects whether the probe responds to a high-level or pulse (+5 V) or a low-level or pulse (ground). (Use IC logic of the same type as is being tested).
Reprinted Url Of This Article:
http://www.seekic.com/circuit_diagram/Basic_Circuit/Digital_Circuit/LOGIC_TEST_PROBE_WITH_MEMORY_.html
Print this Page | Comments | Reading(3)
Code: