Published:2009/6/18 4:21:00 Author:May | From:SeekIC



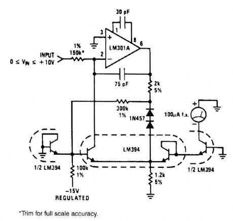
The circuit will generate a square-root function, accurately and inexpensiveJy. The output is a current that can be used to drive a meter directly or be converted to a voltage with a summing junc-tion current-to-voltage converter. The-15-V supply is used as a reference, so it must be stable. A 1% change in The-15-V supply will give a 1/2% shift in output reading. No positive supply is required when an LM301A is used because its inputs can be used at the same voltage as the positive supply (ground). The two 1N457 diodes and the 300-kΩ resistor are used to temperature-compensate the current through the diode-connected1/2 LM394.
Reprinted Url Of This Article:
http://www.seekic.com/circuit_diagram/Basic_Circuit/Digital_Circuit/LOW_COST_ACCURATE_SQUARE_ROOT_CIRCUIT.html
Print this Page | Comments | Reading(3)
Code: