Published:2009/6/25 21:04:00 Author:Jessie | From:SeekIC

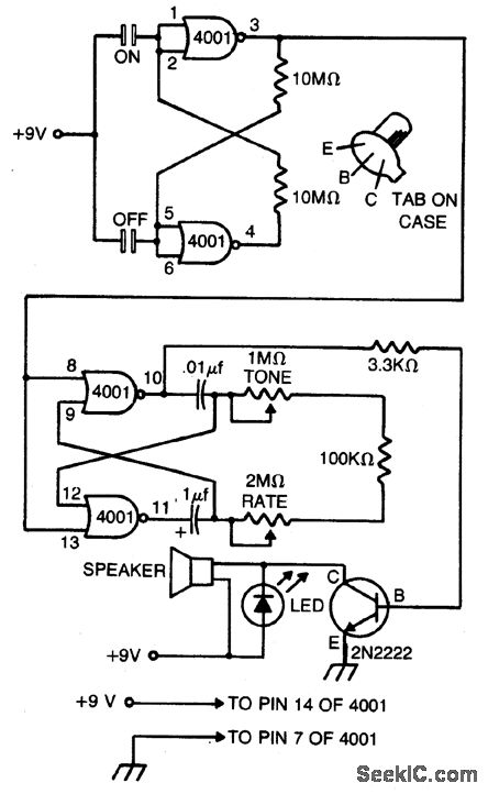
This compact metronome will run for years on a single nine-volt transistor battery.Has both tone and pulse rate controls, and uses touch plates to start and stop, can be built in a case no larger than a pack of cigarettes. The touch plates consist of two strips of metal about 1/16-inch apart mounted on, but insulated from, the case. Bridging the gap closes the switch.
Reprinted Url Of This Article:
http://www.seekic.com/circuit_diagram/Basic_Circuit/Digital_Circuit/MICROMETRONOME.html
Print this Page | Comments | Reading(3)
Code: