Published:2009/6/25 22:05:00 Author:May | From:SeekIC

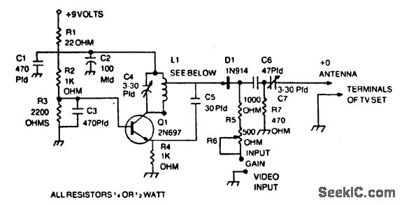
Capacitors C1, C3, C5, and C6 should be dipped mica. C4 and C7 are compression or piston trimmer types. R6 is PC-board mount trimpot. L1 is 6 tums of No.14 enameled wire, 3/8 inch I.D. by 3/4 inch long, tapped at 1 turn from top.
Reprinted Url Of This Article:
http://www.seekic.com/circuit_diagram/Basic_Circuit/Digital_Circuit/RE_MODULATOR.html
Print this Page | Comments | Reading(3)
Code: