Published:2009/6/25 21:18:00 Author:May | From:SeekIC

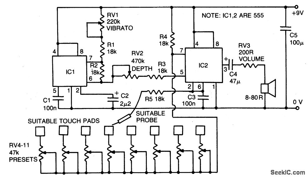
IC2 is an audio frequency oscillator. Its frequency is primarily controlled by the resistance between pins 2 and 7. RV4-11 control the oscillator frequency and by touching a stylus (connected via limiting resistor R5 to pin 2) to each preset, different notes can be played. IC1 is a low frequency oscillator (approximately 3-10Hz), the frequency of which is variable by RV1. The output of this oscillator is connected through depth control RV2 and limiting resistor R3 to the voltage control input of the audio frequency oscillator. Thus a vibrato effect occurs.
Reprinted Url Of This Article:
http://www.seekic.com/circuit_diagram/Basic_Circuit/Digital_Circuit/STYLUS_ORGAN.html
Print this Page | Comments | Reading(3)
Code: