Published:2009/6/25 22:18:00 Author:May | From:SeekIC

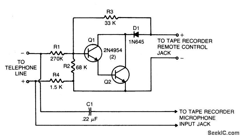
This circuit converts a tape recorder into a completely automatic telephone conversation recording instrument that needs no external power source. Voltage at the switch terminals of tape recorder applied to a pair of Darlington-connected transistors, Q1 and Q2, will turn on and start the tape recorder. To turn the transistors off, and thereby stop the machine, apply a negative voltage to the base of Q1 from the phone line. When the telephone receiver is on the hook, there is typically about 50 volts dc across the phone divided across R1, R2, and R4 in such a way that the base of Q1 is sufficiently negative to keep the tape recorder off. When the phone's receiver is picked up, the voltage on the telephone line drops to about 5 volts, which leaves insufficient negative vol-tage on the base of Q1 to keep it cut off, so the tape recorder starts and begins to record.
Reprinted Url Of This Article:
http://www.seekic.com/circuit_diagram/Basic_Circuit/Digital_Circuit/TELEPHONE_CONTROLLED_TAPE_STARTER_TCTS.html
Print this Page | Comments | Reading(3)
Code: