Published:2009/7/25 5:26:00 Author:Jessie | From:SeekIC

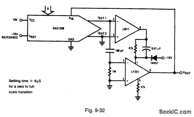
Figure 9-32 shows a DAC1208 connected as a digital pot with improved characteristics (over those of the Fig. 9-31 circuit). The Fig. 9-32 circuit combines the excellent dc input characteristics of the classic LM11 with the fast response of a LF351 (a combination bipolar device). NANONAL SEMICONDUCTOR, APPLICATION NOTE 271, 1994, P. 665.
Reprinted Url Of This Article:
http://www.seekic.com/circuit_diagram/Basic_Circuit/Digital_potentiometer_with_composite_amplifier.html
Print this Page | Comments | Reading(3)
Code: