Published:2009/7/13 20:20:00 Author:May | From:SeekIC

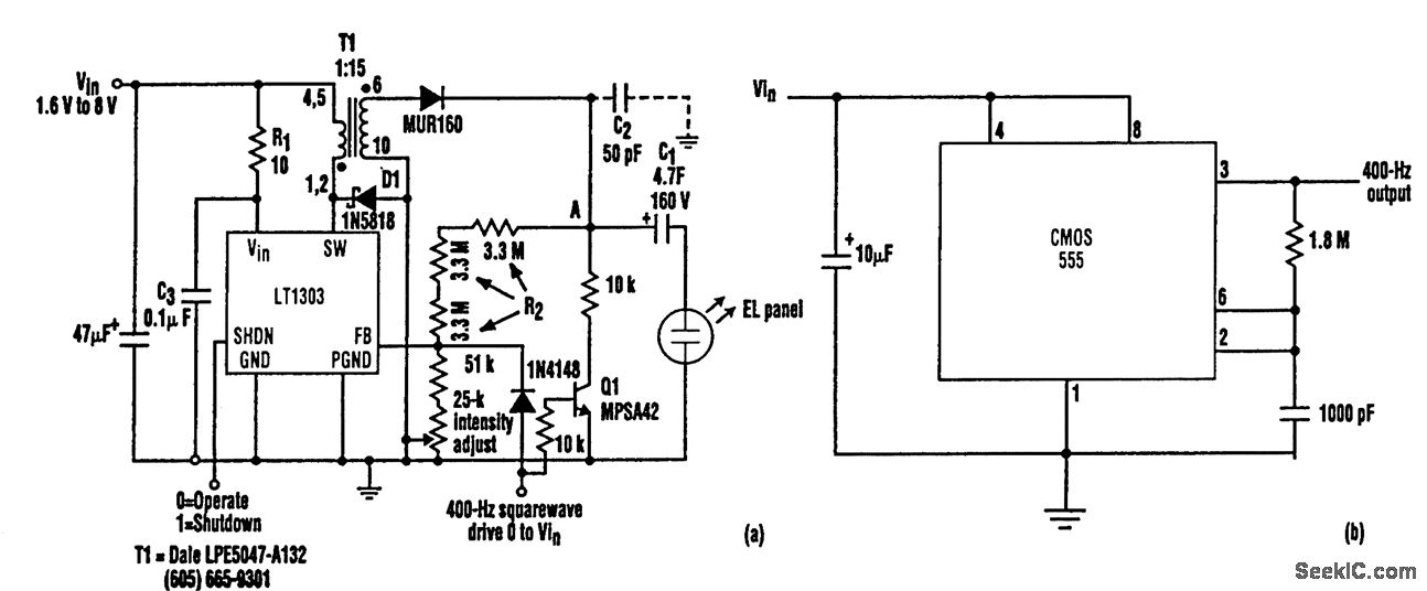
Electroluminescent (EL) panels offer a viable alternative to LED, incandescent, or CCFL backlighting systems in many portable devices. EL panels are thin, rugged, lightweight, and low power; require no diffuser, and emit aesthetically pleasing blue-green light. Capacitive in nature, they typically exhibit about 3000 pF/in2 of panel area and require a low-frequency (50 Hz to 1 kHz) 120-V rms ac drive. These problems can be solved by using a setup that includes an LT1303 micropower switching-regulator IC along with a small surface-mount transformer in a flyback topology. The 400-Hz drive signal can be supplied externally or derived from a simple CMOS 555 circuit. When the drive signal is low, flyback transformer T1 charges the panel until the voltage at point A reaches 240 Vdc. C1 removes the dc component from the panel drive, resulting in +120 Vdc at the panel. When the input drive signal goes high, the LT1303's feedback (FB) pin is pulled high as well, idling the IC and turning on Q1. Q1's collector pulls point A to ground and the panel to -120 Vdc. C2 can be added to limit voltage if the panel is disconnected or open. R1 provides intensity control by varying the output voltage. Intensity also can be modulated by varying the drive-signal frequency.
Reprinted Url Of This Article:
http://www.seekic.com/circuit_diagram/Basic_Circuit/ELECTROLUMINESCENT_PANEL.html
Print this Page | Comments | Reading(3)
Code: