Published:2009/7/9 21:51:00 Author:May | From:SeekIC

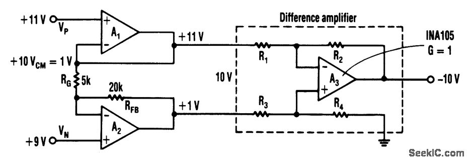
These circuits allow a larger common-mode range than most instrument amplifier inputs can allow.
Reprinted Url Of This Article:
http://www.seekic.com/circuit_diagram/Basic_Circuit/EXTENDED_COMMON_MODE_INSTRUMENT.html
Print this Page | Comments | Reading(3)
Code: