Published:2011/6/29 23:02:00 Author:Nicole | Keyword: sewing machine, no load energy saver | From:SeekIC

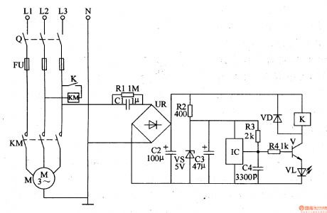
The electric sewing machine no load energy saver circuit is composed of DC regulated power supply circuit, sensor control circuit and master control circuit, it is shown in the figure 8-3.
The DC regulated power supply circuit is made of hypotension capacitor C1, discharge resistor R1, bridge rectifiers UR, filter capacitor C2, C3, current limiting resistor R2 and steady voltage diode VS.
The sensor control circuit consists of magnet which is fixed on the sewing machine clutch operating lever and Hall sensor integrated circuit IC, resistors R3, R4, capacitor C4, transistor V, diode VD, LED VL and relay K.
Reprinted Url Of This Article:
http://www.seekic.com/circuit_diagram/Basic_Circuit/Electric_sewing_machine_no_load_energy_saver_1.html
Print this Page | Comments | Reading(3)
Code: