Published:2011/6/28 2:44:00 Author:Nicole | Keyword: Electrical blaster | From:SeekIC

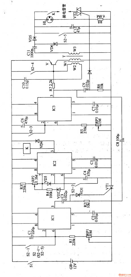
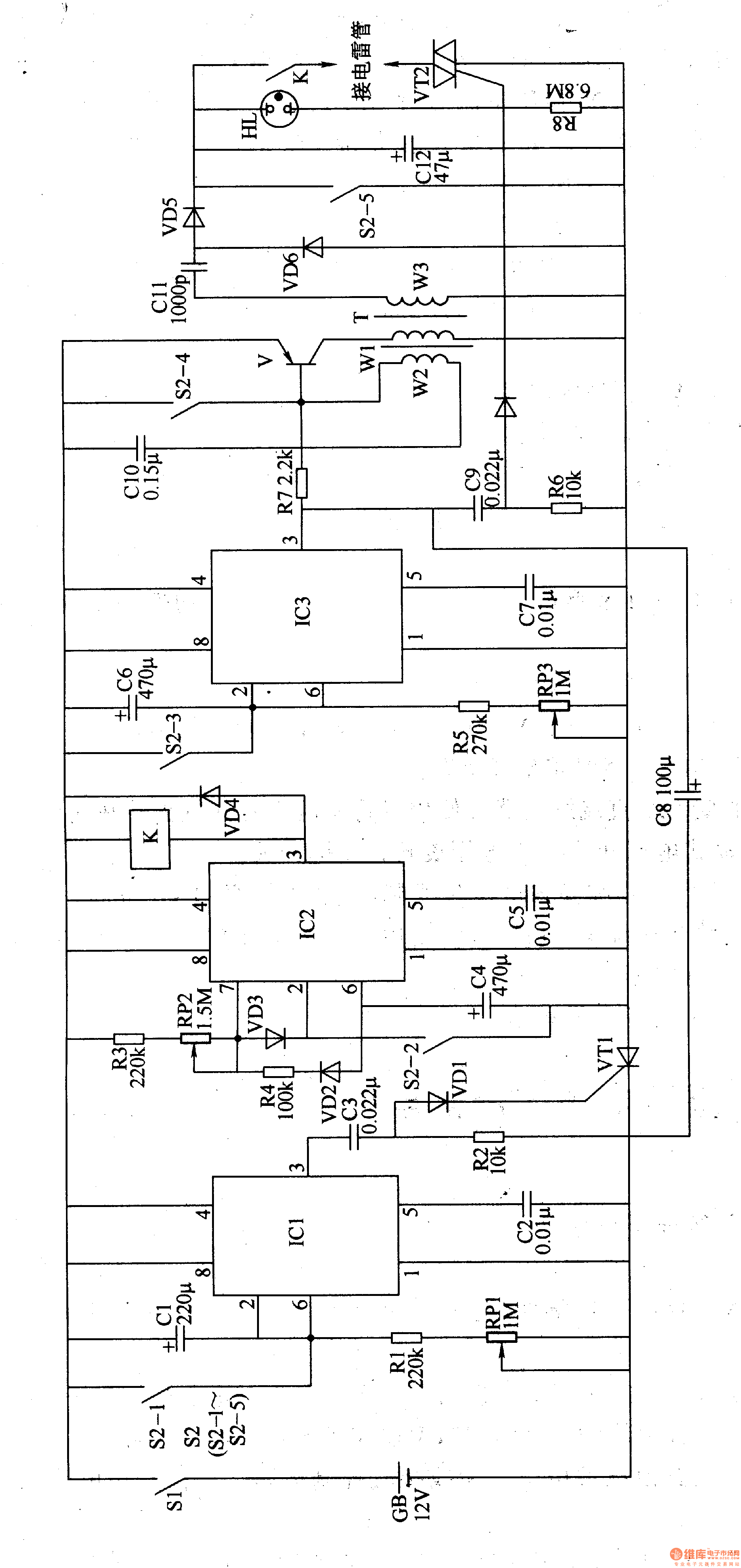
The electrical blaster circuit is composed of delay switch circuit, insurance switch circuit, timing detonating circuit, charge indication circuit and detonating power supply circuit, it is shown in the figure 8-25.
The delay switch circuit is made of time base integrated circuit IC1, resistors R1, R2, potentiometer RP1, potentiometers C1-C3, diode VD1, thyristor VT1 and the contact S2-1 of detonating switch S2.
The insurance switch circuit consists of time base integrated circuit IC2, resistors R3, R4, potentiometer RP2, diode VD2, VD3, capacitors C4, C5, relay K and the contact S2-2 of S2.
Reprinted Url Of This Article:
http://www.seekic.com/circuit_diagram/Basic_Circuit/Electrical_blaster_3.html
Print this Page | Comments | Reading(3)
Code: