Published:2011/6/27 3:57:00 Author:Nicole | Keyword: Electronic snore-ceasing equipment | From:SeekIC

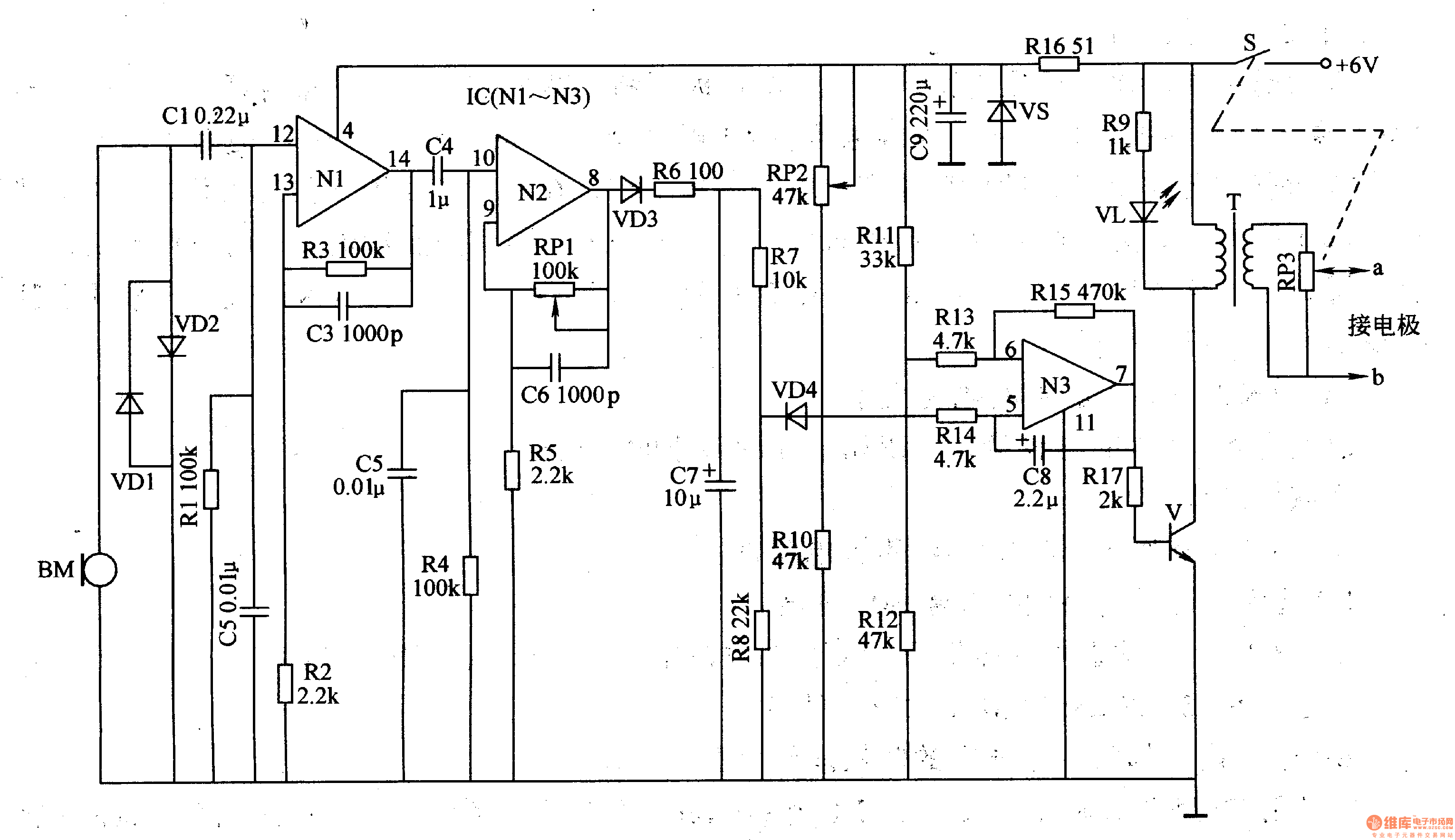
The snoring detection circuit is made of microphone BM, limiter diodes VD1, VD2, coupling capacitor C1 and selection frequency component R1, C2.
The preposition amplifier circuit consists of operation amplifier integrated circuit IC(N1-N3)internal operation amplifier N1, N2 and peripheral device.
The pulse generation circuit(belong to low frequency self-exciting oscillator)is composed of IC internal operation amplifier N3 and peripheral resistor capacitor components.
The pulse change circuit is made of switch tube V, boost transformer T and potentiometer RM.
Reprinted Url Of This Article:
http://www.seekic.com/circuit_diagram/Basic_Circuit/Electronic_snore_ceasing_equipment_2.html
Print this Page | Comments | Reading(3)
Code: