Published:2011/6/27 4:15:00 Author:Nicole | Keyword: Electronic snore-ceasing equipment | From:SeekIC

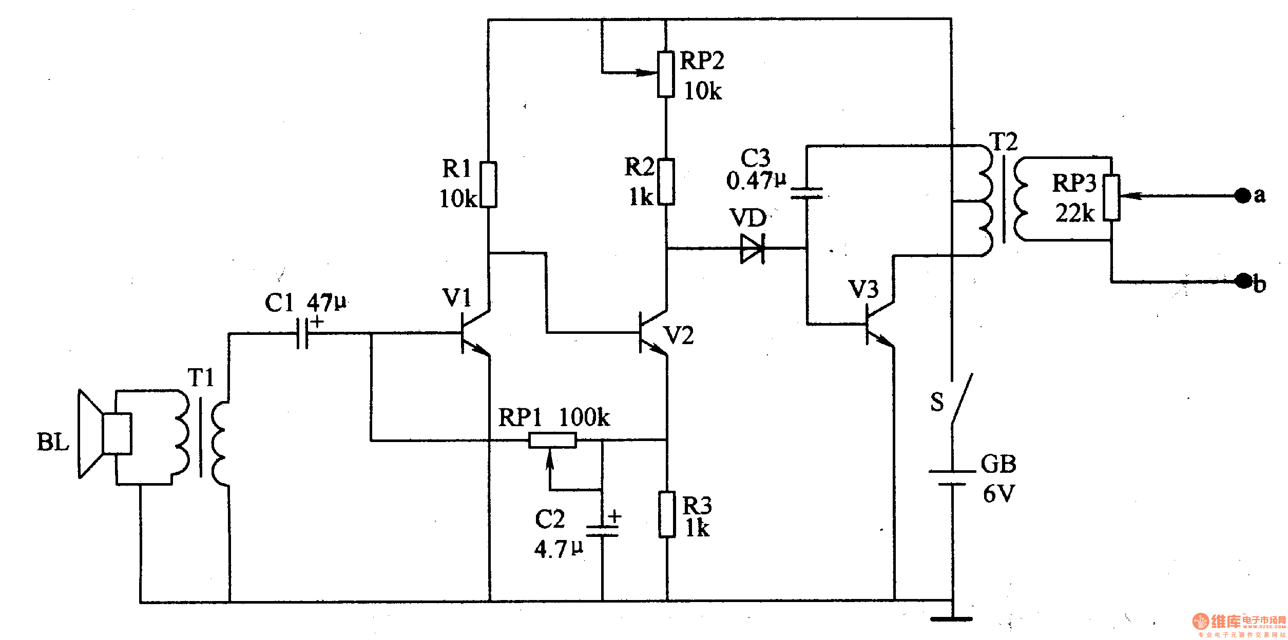
This snoring detection amplifier circuit is composed of loudspeaker BL, coupling transformer T1, capacitors C1, C2, audio amplifier transistors V1, V2, resistors R1-R3 and potentiometers RP1, RP2.
The pulse oscillator is made of diode VD, oscillation tube V3, capacitor C3, pulse transformer T2 and potentiometer RP3.
After the power supply switch S is connected, the snoring detection amplifier circuit starts to work. When there is no snoring, V2's collector has no audio voltage output, V3 is in off state, the electrodes a,b has no stimulation pulse output.
Reprinted Url Of This Article:
http://www.seekic.com/circuit_diagram/Basic_Circuit/Electronic_snore_ceasing_equipment_4.html
Print this Page | Comments | Reading(3)
Code: