Published:2009/7/20 1:46:00 Author:Jessie | From:SeekIC

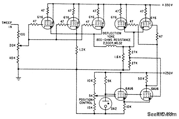
Provides power amplification for driving electronic high-definition facsimile recorder. Sweep input voltage is high enough to eliminate need for voltage gain in power amplifier stages.-E. W. Van Winkl, High-Precision Sweep Generator, Electronics, 33:50. p 88-90.
Reprinted Url Of This Article:
http://www.seekic.com/circuit_diagram/Basic_Circuit/FACSIMILE_SWEEP_AMPLIFIER.html
Print this Page | Comments | Reading(3)
Code: